Wednesday April 2026

হটলাইন

সেবা এবং ধাপ

নং শিরোনাম সেবার ধাপ কার্যকলাপ
  
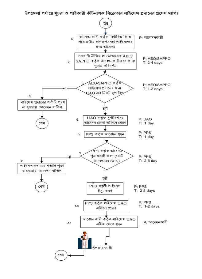
কীটনাশক ডিলার নিয়োগ দেখুন
কৃষি উপকরন সহায়তা প্রদান দেখুন
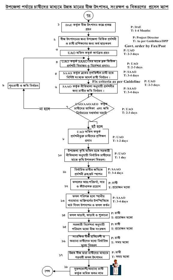
বীজ দেখুন
মাটির স্বাস্থ্য ব্যবস্থাপনা কার্যক্রম দেখুন
ফসলের বালাই ব্যবস্থাপনা দেখুন
উন্নত/নতুন কৃষি প্রযুক্তি/ফসলের জাত সম্প্রসারণ দেখুন
কৃষকদের প্রশিক্ষন প্রদান দেখুন
দেখছেন ১ থেকে ৭ পর্যন্ত, মোট ৭ এন্ট্রি

এক্সেসিবিলিটি

স্ক্রিন রিডার ডাউনলোড করুন